關鍵詞搜索: 智能脈沖氣動調和系統 貯罐液體自動取樣裝置 灌裝機 旋蓋機 封口機 其他
一 概 述
貯罐液體取樣裝置是在我國石化企業普遍執行的ISO 3170(GB/T4756-1998)《石油液體產品手工取樣法》取樣標準的基礎上,經過實際摸索調研由設計人員設計的一種新型取樣裝置。克服了企業原先采取的手工采樣在操作之中受諸多因素的影響,操作者勞動強度大,更不利于采樣的準確性,同樣存在著很大的安全隱患。
我公司研制開發的此貯罐液體取樣裝置向自動化方面前進了一大步,只要搬動一個鈕子開關,任意選取上、中、下等液位液體,再轉動三通控制閥就可以隨機取樣了。此項技術的投入,不僅能大大地降低工作強度,更主要的是能提供更準確的、更科學的數據,而且操作方便,完全能取代原手工取樣工作,它還能夠節約取樣用料,減少浪費,做到不污染環境,增強了環保意識。該貯罐液體取樣裝置已申請國家專利(專利號:200820126014.8)。
貯罐液體取樣裝置,可廣泛應用于石油和化工企業各類油罐中貯存的液體石油產品和中間產品的樣品采集,能滿足各類均勻或非均勻液體貯罐的取樣,更適合在脈沖調合液罐上的取樣。采樣人員在罐下只需幾分鐘即可取出所需樣品,無需登上十多米高的貯罐頂部進行手工取樣。
二 產品特點
◆ 取樣準確
1、貯罐液體自動取樣裝置的取樣,是按照ISO3170(GB/T4756-1998)標準設計在規定的取樣位置上采集樣品,從而保證了取樣的準確性和重復性,取出的樣品能真實反映罐內介質的質量狀況,樣品代表性強,準確度高。
2、由于自動取樣器的罐內裝置隨著罐內的液位上下浮動,所以,無論罐內液位在任何高度,自動取樣器始終能夠準確的采到罐內的高位、中位、低位的油樣。
3、克服了人工采樣,采樣器皿易留下其它罐內油品的殘留物,影響采樣準確性。自動取樣器采用全密封進行取樣,沒有其它罐內油品的殘留物,真實反映了樣品品質。
4、克服了人工采樣受雷、雨、雪天的影響,采樣器皿中易滴入雨水、雪水,取出的油樣易混入水份不準確的缺點,保證自動取樣器全天候采樣。同時,自動取樣器克服了人工采樣受環境及心理等多種因素影響而產生的隨機誤差。
◆增加了人身安全保障
本自動取樣器克服了人工爬罐進行采樣,采樣人員
只要在罐下打開取樣開關閥門即可采到相應位置的油樣。避免了雷、雨、雪、霜、大風、結冰、高溫等惡劣氣候采樣人員爬上罐頂進行采樣,容易造成人工傷害的危險,從而保障了采樣人員的人身安全。
◆節省采樣時間,提高了工作效率
由于人工采樣需要爬上罐頂進行取樣,對一個罐的取樣時間需要花費十五分鐘以上。現在采樣人員無需登上貯罐頂,在罐下通過自動取樣器,搬動開關閥門, 耗時不到三分鐘,即可取到罐內的上、中、下等液位所需樣品。使用自動取樣器,采樣人員不需要另外攜帶采樣工具,提著樣品上下爬罐,節省了取樣時間,減輕了采樣人員的勞動強度,取樣的效率提高五倍以上。
◆安全健康
安裝本取樣裝置后,操作者既不用攀登懸梯,在較高的罐頂進行采樣工作,又不用接近含有有害氣體,特別是含硫化氫氣體較高的罐頂采樣,有利于采樣人員的安全和健康。
◆ 安全可靠
本自動取樣器采用壓縮空氣通過氣動泵做動力源,避免用電力設備做動力源,使用自動取樣器做到了無電運行,減少了由于靜電效應而產生的危險。
◆ 快捷方便
本自動取樣裝置在地面進行操作取樣,操作起來簡單、方便,易于掌握。無需逐層提取樣品后混和,只需在罐下順序打開自動取樣器的高、中、低等液位的取樣開關閥門,即可分別采到油罐內高、中位、低等液位的油樣。(整個采樣時間不到3分鐘。)
◆ 環保降耗
本自動取樣裝置全部密封,不污染環境,無人工采樣清洗器具的麻煩,避免油品污染及浪費。
◆ 安裝簡單
本自動取樣裝置結構靈活,采集樣品種類多、組合性強;安裝方式分為法蘭連接安裝和直接焊接安裝,只需在罐壁開一個孔(現場不能動火時,可將底部入孔蓋移至安全地點,在其上開孔安裝),不對罐體進行任何改動,裝置本身各功能機構均成整件,用戶只需按要求連接即成,簡單方便。
◆ 易于管理
由于自動取樣器在罐底安裝,便于集中管理。對自動取樣器采取定時、定點掛牌管理制度,可以有效的保證罐內油品化驗分析的及時、準確,安全,有較高的自動化程度。
◆ 小而美觀
本自動取樣裝置所有操作是在帶有夾層保溫的不銹鋼操作箱內進行,該箱體積大約為450*420*280mm,采用自伴熱,經濟美觀。




取樣器控制箱示意圖
取樣裝置分罐內和罐外兩部分。
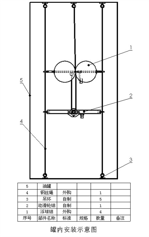
罐內設有:①浮球組件 ②滑輪組件 ③固定吊環 ④固定鋼絲繩組件 ⑤油罐。
罐外設有:①取樣箱固定架 ②取樣箱 ③五通分配器 ④金屬軟管。
取樣裝置頂部安裝有浮球組件(見圖1)。浮球組件兩端有耳環,套在兩根平行豎直固定在罐頂、罐底且繃緊的鋼絲繩上。浮球組件下端安裝有滑輪組件,滑輪組件裝有上采樣嘴。在中間滑輪組件安裝有中間采樣嘴,浮球組件、滑輪組件的采樣嘴均連接有采樣管,直通罐外操作箱。罐外設有操作箱,固定在罐體外壁上。操作箱內設有支撐管,支撐管伸出取樣箱外與金屬管連接,金屬軟管與球閥連接后直通罐壁五通分配器密封固定于罐體上(見圖2)。取樣管和回液管從支撐管內穿過,與操作箱內相關的氣、液元器件密封連接。箱體內面板上(見圖3)裝有操作開關球閥。取樣裝置結構簡單,易安裝,易操作。
罐內取樣裝置部分的浮球組件隨著罐內液面位置上下移動,(上、中、下部)的采樣嘴隨著罐內液面位置按比例伸縮。幾個采樣嘴不管罐內液體的儲量怎樣變化,也就是不管液面怎么樣變化,它們之間的比例不變。
結構與原理
幾個采樣嘴通過采樣管和取樣管與操作箱內液路閥體相連,并由手動三通閥控制液路閥體的通路。同時也連鎖控制氣動泵的通路,
當我們選擇某一路取樣時,就可以選定控制球閥,讓這一路是通路,使液體在氣動泵的作用下,連續的從罐內抽液體,并由回路再返回罐體下部。
確認應該取樣了,就可以轉動三通控制閥取樣。如若停止取樣工作,關閉氣泵控制開關,氣動泵停止,油路回到靜止狀態。
該取樣裝置的特征在于:罐內取樣裝置部分可隨浮球組件升高或降低而自動按比例伸縮,即當罐內液面發生變換化時,裝置能隨機調整,確保取樣裝置的準確性。
該裝置安裝方便、準確度高、重復性好、采樣速度快,安全可靠,并且該裝置完全密封,不污染環境,整個采樣程序都是按ISO3170(GB/T4756-1998)《石油液體產品手工取樣法》的采樣程序進行。
操作過程
見圖3:打開操作箱的箱門,將回油開關球閥設置在通路位置上。打開氣泵控制開關,氣動泵開始工作。當需要取上、中、下任意液面液樣的時候,按順序打開相應的上、中、下開關球閥在通路位置上。轉動二位三通閥置回油位置上,罐內液體就從相應的上、中、下采樣管道,經過氣動泵又從回液管流回罐內底部。經過1~2分鐘的循環,再轉動二位三通閥開關置取樣位置上,用取樣器皿在取樣口進行取樣,灌到一定數量關上閥門,取樣停止。
見圖3例:取上部液面的液樣時,打開上開關球閥,打開氣泵控制開關,氣動泵工作。上采樣嘴通過取樣管對油液進行取樣,打開二位三通閥開關置回油位置上,經過1~2分鐘的循環(依據油罐不同的高度,回油時間是取樣時間的2~3倍),確認管路里沒有原存液體,完全是上采樣嘴液面的液體時,轉動二位三通閥開關置取樣位置,樣液從取樣口流出。如要停流,將二位三通閥復位置回油位置,液體回到液罐內,取樣停止。如再取另外一位號液面的液樣,對應的重復上述工作。取樣結束后,轉動二位三通閥開關置回油位置上。清理后關上箱門,再離開工作地。
由于地區天氣寒冷,冬季里箱內要保持一定的工作溫度。安裝時,有加熱管,操作人員注意安全。